中文版
English
 
产品名称:
产品类别:
 
 
  交流互感器、传感器
|-- 电流型电流互感器
    |-- 1A系列
    |-- 2A系列
    |-- 5A系列
    |-- 20A系列
    |-- 25A系列
    |-- 40A系列
    |-- 100A系列
    |-- 150A系列
    |-- 200A系列
    |-- 250A系列
    |-- 300A系列
    |-- 400A系列
    |-- 600A系列
    |-- 1000A系列
|-- 电流型电压互感器
|-- 电压型电流互感器
|-- 电压型电压互感器
|-- 电流型传感器
    |-- 商业
    |-- 工业
|-- 电压型传感器
    |-- 商业
    |-- 工业
|-- 电度表专用互感器
直流互感器、传感器
|-- 霍尔开环电流传感器
|-- 霍尔闭环电流传感器
|-- 霍尔电压传感器
|-- 磁调制式直流漏电流传感器
开口互感器、钳型互感器
|-- 钳形互感器
|-- 开合式互感器
|-- 钢轨专用钳形互感器
 
您现在的位置:首页 >> 产品销售
产品首页 -> 交流互感器、传感器 -> 电流型电流互感器 -> 5A系列
产品名称: SCT254AK
产品说明:

5A系列
 

精密电流互感器 5A系列     SCT254AK

精密小巧的PCB板焊接式安装
高隔离度耐冲击的全树脂密封

性能指标:

额定输入电流

5A

最大电流

常通10A

额定输出电流

2.5mA

线性范围(Rl=0)

0~20A

匝数比

1:2000

可耐冲击电流

100A * 1秒

线性度

<0.1%

隔离耐压

>3500Vac

相移

<5'(补偿后)

使用温度

-50℃--+65℃

副边内阻Ri

约220Ω

贮藏温度

-60℃--+80℃

重量

15~16克

相对温度

<90%


注:Rl—次级负载电阻,Ri—次级内阻

使用方法简介:

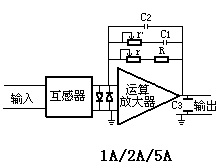
  SCT254AK是一款精密电流互感器,输入额定电流为5A,额定输出电流为2.5mA。当用户需要将电流输出信号变换成电压信号时,推荐使用电路如图所示。调整图中反馈电阻R和r的值可得到所需要的电压输出。电容C1及可调电阻r’是用来补偿相移的。电容C2是400至1000pF的小电容,用来防振和滤波。C3起抗干扰作用,其数值不的大于400pF。两个反接的二极管是起保护运算放大器作用的。运算放大器推荐使用OP07系列,使用性能较好的运算放大器较容易达到较高的精度和较好的稳定性。运算放大器电源电压通常取+15V或+12V,也可根据具体情况自定。 温度系数应优于50PPM。用户使用推荐电路稍加改动也可构成单电源供电模式,适用于单极性A/D转换器的输入。

  SCT254AK次级如不加运算放大器而直接并联一个电阻使输出变换成电压信号也是可以的。前提是电阻要小于400Ω,输出电压最大2伏,这时仍能得到线性度优于0.1%的输出电压信号。和推荐电路比较,其影响如下:1.缩小了互感器的动态范围。2.使相移增大


应用实例:

  用SCT254AK设计一个额定输入电流为5A,输出电压为2.92V的电路。其电路如上,参数如下:确定电路参数首先要确定反馈电阻R的值。反馈电阻R=2.92V/2.5mA=1.17KW。如果要求输出电压很精确,则R可选1.1KW,另外串联一个200W可调电阻r进行微调。或者选1.3KW,另外并联一个20 KW可调电阻进行微调,以达到所要求的精度。如果需要补偿相移即相位差,则需要确定补偿电容C1及补偿电阻r’的值。由于通常电容不能微调,所以需要调补偿电阻r’来达到所需的补偿精度。每只互感器上标了未补偿前的相移值,由此可计算出C1和r’的值。如果C1选0.033mF,则r’=95×(22R/FC-1)1/2其中,R为反馈电阻的值,以KW为单位;FC为每只互感器上标的未补偿前的相移值,以分为单位。计算出来的补偿电阻r’的值是以KW为单位的。在此例中,C1选0.033mF,如SCT254AK上标的FC为15',补偿电阻r’约为132KW。如果C1选0.022mF,计算公式则为r’=143×(15R/FC-1)1/2,在此例中,如果C1选0.022mF,如SCT254A上标的FC为15',补偿电阻r’约为143KW。如SCT254A上标的FC为8',补偿电阻r’约为237KW。


 



>>SCT254AK
额定输入/输出
5A/2.5mA
非线性度
<0.1%
线性范围
0~20A
额定输入(不考虑相移)最大负载
800Ω

>>推荐电路

相关产品:
[]SCT211FK
[]SPT204S
[]SPT204I
[]SCT277AZ
[]SPT204NB
[]SCT454NB
[]TBC-AP
[]HCT3231AX
[]HCT3112AX
[]HCT3131AX